Wał Korbowy 12mm Top Racing Kymco Sym
Wał Korbowy 12mm Top Racing Kymco Sym
wał korbowy
top racing 2t 50 ccm standard kymco vitality super 8/9 bet&win
kod produktu: waj6030012
charakterystyka
produktu:
·
wał karbowy
top racing/jasil do silników 2t 50 ccm a/c l/c
·
najwyższej
jakości zamiennik, niczym nie odbiegający od części oryginalnej
·
łożysko główki
korbowodu – 12x17x13 mm
·
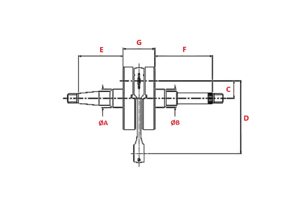
wymiary:
a – 20,00 mm
b – 25,00 mm
c – 20,70 mm
d – 80,00 mm
e – 73,50 mm
f – 81,50 mm
g – 34,00 mm
·
wyprodukowana
według standardów jakości iso
zastosowanie: kymco super 8, super 9, vitality,
dink, bet&win, agility fr, agility rs, agility city, grand dink, yager, zx szczegóły w zakładce „pasuje do” i
tabelce poniżej
jasil to portugalska firma zajmująca się obróbką metali,
której główną działalnością jest produkcja części i akcesoriów do motocykli i
skuterów. 70 lat doświadczenia oraz dążenie do doskonałości, jest efektem
stałych inwestycji w nowe technologie, rozwój nowych produktów, dbałość o
jakość z koncentracją na końcowym odbiorcy
Wał Korbowy 12mm Top Racing Kymco Sym
Informacje dodatkowe:
Produkt: Nowy
Marka: Jasil
ID: L2910
Podmiot odpowiedzialny/do pobrania
Instrukcja bezpieczeństwa i użytkowania produktów
Odpowiedzialność za produktBDO: 000551627















